+38 (099) 497-39-47 (Viber)
Ущільнювачі для модульних будівель 34х39 мм — Silverprom

Ущільнювачі для модульних будівель і блок-контейнерів: інженерний підхід до герметизації
Герметизація стиків у швидкомонтованих спорудах (ШМС) є критичним фактором, що визначає енергоефективність та термін експлуатації всієї будівлі. Спеціалізований ущільнювальний профіль розміром 34х39 мм розроблений для нівелювання теплових містків, запобігання інфільтрації вологи та компенсації динамічних навантажень на вузли з’єднання модулів. Використання професійних еластомерів дозволяє створити єдиний герметичний контур навіть у складних багатомодульних конструкціях.
Зовнішній вигляд ущільнювача 34х39 мм
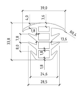
Технічне креслення перерізу профілю
Фізико-хімічні властивості та вибір матеріалу (EPDM vs VMQ)
Вибір між етилен-пропіленовим каучуком (EPDM) та силіконом (VMQ) базується на аналізі кліматичних навантажень та специфіки експлуатації об’єкта. Кожен матеріал має унікальну молекулярну структуру, що визначає швидкість старіння ущільнювального вузла в умовах агресивного зовнішнього середовища.
EPDM: Еталон атмосферної стійкості
Етилен-пропілен-дієновий каучук є базовим рішенням для зовнішніх контурів. Завдяки високому ступеню насиченості вуглецевого ланцюга, EPDM демонструє виняткову стійкість до озонового впливу та ультрафіолетового випромінювання. В умовах помірного клімату України такий профіль зберігає еластичність понад 15 років, не піддаючись розтріскуванню та деструкції полімерних зв'язків.
Силікон: Термічна стабільність в екстремальних умовах
Силіконові еластомери (VMQ) застосовуються в проєктах із жорсткими вимогами до пожежної безпеки або при будівництві в регіонах з температурними коливаннями від −60°C до +250°C. Силікон не має «ефекту пам'яті» при низьких температурах, що дозволяє йому миттєво відновлювати форму після розбирання та повторного монтажу модульних одиниць.
| Порівняльний аналіз технічних параметрів еластомерів | ||
|---|---|---|
| Показник (одиниця виміру) | EPDM (Каучук) | Силікон (VMQ) |
| Робоча температура (°C) | від −40 до +120 | від −60 до +250 |
| Твердість за Шором (Shore A) | 65 ± 5 | 60 ± 5 |
| Межа міцності на розрив (МПа) | 7.0 – 10.0 | 5.0 – 8.0 |
| Відносне подовження (%) | > 250 | > 300 |
| Залишкова деформація стиску (100°C) | < 25% | < 15% |
Аналіз деформаційних навантажень та довговічність вузла
При проектуванні швидкомонтованих споруд необхідно враховувати, що стик між модулями не є статичним. Через температурне розширення металевого каркаса (швелера, кутника) зазори можуть змінювати свою ширину протягом доби. Саме тому ущільнювач розміром 34х39 мм повинен мати високу втомну міцність та здатність до циклічного стиснення.
Наші дослідження показують, що при використанні профілів з низькоякісної сировини матеріал втрачає до 40% своєї здатності до відновлення вже після першого сезону. Рішення від Silverprom розраховані на 5000+ циклів деформації, що гарантує стабільну роботу протягом десятиліть експлуатації без необхідності капітального ремонту стиків.
Гідроізоляційна ефективність та капілярний бар’єр
Однією з головних проблем модульного будівництва є капілярне підняття вологи в місцях з’єднання. Текстура поверхні нашого профілю розроблена таким чином, щоб створювати «лабіринтове ущільнення». Навіть при прямому впливі зливових опадів та сильного вітру, геометрія 34х39 мм перешкоджає продавлюванню води всередину приміщення, виступаючи надійним бар'єром.
Енергетичний аудит та термомодернізація стиків
Згідно з тепловізійними обстеженнями, до 25% тепловтрат блок-контейнера припадає саме на нещільні стики. Встановлення спеціалізованого ущільнювача дозволяє знизити коефіцієнт теплопередачі вузла з’єднання. Це забезпечує пряму економію на електроенергії для опалення або кондиціювання вахтових селищ, серверних модулів та мобільних офісів.
Таблиця сумісності з типами каркасних систем
| Застосування профілю 34х39 мм за типом конструкції | |
|---|---|
| Металеві блок-контейнери | Встановлення по периметру дверних та віконних рам, а також на стикувальні балки між модулями. |
| Сендвіч-панельні збірки | Герметизація вертикальних та горизонтальних швів для запобігання промерзанню наповнювача панелі. |
| Енергетичні модулі | Захист внутрішнього обладнання (генераторів, серверів) від пилу та вологого повітря за стандартом IP54/IP65. |
Нівелювання дефектів геометрії каркаса
Металеві каркаси блок-контейнерів часто мають допуски по зварюванню та геометрії. Ущільнювач 34х39 мм з внутрішньою порожниною дозволяє компенсувати перепади ширини зазору до 10 мм без втрати герметизуючих властивостей. Це критично для багатоповерхових модульних комплексів, де сумарна похибка вертикальних стиків може бути значною та призводити до розгерметизації.
Технологія монтажу та експлуатаційний регламент
Довговічність ущільнення на 50% залежить від якості підготовки поверхні. Рекомендується дотримуватися наступного протоколу встановлення:
- Очищення адгезійної зони: Поверхня металу має бути знежирена та очищена від залишків монтажної піни, пилу або оксидів.
- Фіксація: При механічній фіксації необхідно забезпечити рівномірний притиск по всій довжині, щоб уникнути передчасного розриву полімерних зв’язків у точках перенапруження.
- Герметизація кутів: Кутові з’єднання стикуються під кутом 45° з обов’язковим використанням ціанакрилатного клею (для EPDM) або спеціалізованого силіконового адгезиву.
Наслідки використання невідповідних матеріалів
Економія на якості еластомеру призводить до прихованих дефектів, які проявляються після першого зимового циклу:
- Корозія каркаса: Проникнення конденсату та атмосферних опадів всередину стику прискорює руйнування металевих елементів каркаса.
- Озонове розтріскування: Неякісна гума втрачає герметичність через мікротріщини, спричинені сонячною радіацією.
- Просідання профілю: Втрата пружності створює стійкі містки холоду, що збільшує енерговитрати будівлі на 15-20%.
Експертний висновок Silverprom
Ущільнювач для модульних будівель — це стратегічний функціональний вузол, що об’єднує окремі блоки в монолітну енергоефективну систему. Ми постачаємо рішення, засновані на аналізі навантажень та тривалому досвіді експлуатації ШМС у різних кліматичних зонах. Кожна партія проходить контроль геометричної точності згідно з кресленнями та перевірку на залишкову деформацію, що гарантує надійність з’єднань у найскладніших умовах.